Apple запатентовала новый медицинский гаджет
Журналисты допускают, что компания может интегрировать его с платформой Apple Watch или самим устройством Apple Watch.
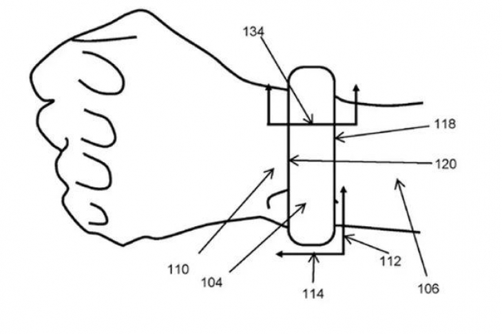
Компания запатентовала дизайн для переносного монитора артериального давления - манжеты, снабженные датчиками, которые отслеживают давление. Эта технология может быть использована в новом поколении умных часов Apple Watch, передает unian.net.
Отмечается, что патент описывает устройство в общих терминах. В частности, в новом гаджете будут установлены система измерения артериального давления, содержащая датчик давления; расширяемый элемент, содержащий множество расширяемых ячеек и исполнительный механизм.
Согласно патенту Apple, их устройство должно иметь один датчик для измерения давления крови, когда он протекает через руку или ногу пользователя. Существует также "исполнительный механизм" для измерения того, какое давление необходимо считать хорошим.
В мире, где проблемы с высоким давлением встречаются все чаще, появление Apple в этом секторе потребительского рынка здравоохранения будет иметь смысл. Но пока неизвестно, планирует ли компания предложить отдельное новое устройство или каким-то образом интегрировать его с платформой Apple Watch или самим устройством Apple Watch.
Получение патента означает, что компании придется пройти множество тестов от организации FDA, которые должны проконтролировать развитие первого полнофункционального медицинского устройства Apple до того, как оно попадает на рынок.





Мир «Блокада ефективніша за бомбардування: Трамп заявив, що Іран задихається під тиском США»
Политика «Україна наразі є "унікальним випробувальним полігоном" для тестування обладнання, – Міноборони Польщі»
Экономика «ЄС та ЄБРР виділили 54 млн євро "Укрзалізниці"»
Мир «Президент США заявив, що договір про завершення війни в Україні близький»
Происшествия «Закарпатський військовий комісар після скандалу повернеться до десантно-штурмових військ»
Политика «Будапешт висунув нову умову Україні для вступу до ЄС»